農耕用ワゴンのサポートホイール
農耕用ワゴンのサポートホイール
89,00 €
価格情報
販売価格111,00 €
インターネット価格89,00 €
消費税を含む価格 (0.00% - United States)*
記事番号: 402675.001
短期間の利用が可能
ストック: 0
数量
Paypalで直接支払い:
*すべての価格は付加価値税を含み、それに加えて送料がかかります。 表示されたインターネット価格は、当ショップでのご注文にのみ適用されます。当社の従業員は、電話、ファックス、電子メールでこれらの条件を伝えることはできません。
価格の状況: 08.20.2024
記事番号
402675.001
呼称
Stützräder für Ackerwagen
タイプ
M195
ホイール
Stahlblech
機能
ヒンジ式
ストローク
220 mm
バージョン
スタンダード
ホイール素材
スチール
最大負荷容量
800 kg
ホイール寸法
220x60
Ø アウターチューブ
35 mm
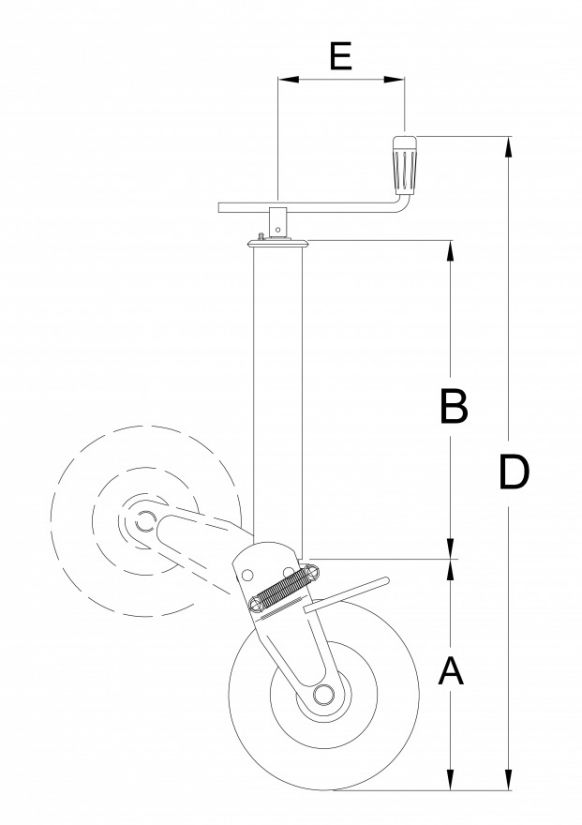
ディメンションA
290 mm
ディメンションB
385 mm
ディメンションD
830 mm
ディメンションE
125 mm
重量
10 kg
Support wheel, support wheel for farm wagon foldable,
nose wheel, trailer support wheel
60 square / M 195
wheel
220 x 60
static load capacity Kg max.
800
stroke mm
220
weight Kg
9,70
nose wheel, trailer support wheel
60 square / M 195
wheel
220 x 60
static load capacity Kg max.
800
stroke mm
220
weight Kg
9,70










